GM подал патент на лобовое стекло с технологией дополненной реальности
Американский концерн подал патент на технологию, которая будет автоматически затемнять лобовое стекло, для уменьшения бликов фар. «GM хочет улучшить опыт вождения своих клиентов и повысить безопасность за счет использования дополненной реальности» — говорится в опубликованном пресс-релизе.

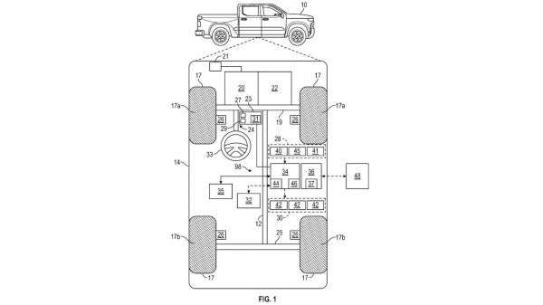
Компания General Motors (GM) подала патентную заявку на лобовое стекло с функцией дополненной реальности (AR) с автоматическим затемнением, которое улучшит впечатления от вождения, проецируя важную информацию на лобовое стекло. Согласно заявке на патент, лобовое стекло с дополненной реальностью будет использовать датчики и камеры для обнаружения взгляда водителя и соответствующей корректировки проецируемой информации. Это позволит водителю получать такую информацию, как скорость, навигация и входящие вызовы, не отрывая глаз от дороги.

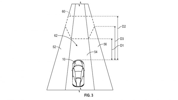
Патентная заявка также предполагает, что ветровое стекло AR можно использовать для усовершенствованных систем помощи водителю (ADAS), таких как предупреждения о выходе из полосы движения и предупреждения о столкновениях.
Кроме того, эту технологию можно использовать в развлекательных целях, например, для проецирования фильмов или видеоигр на лобовое стекло для просмотра пассажирами.
Функция автоматического затемнения ветрового стекла AR будет управляться датчиком освещенности, который будет автоматически регулировать яркость проецируемой информации, чтобы предотвратить блики и обеспечить оптимальную видимость для водителя.
Разработка GM этой автомобильной технологии соответствует растущей тенденции интеграции дополненной реальности в автомобили. Многие другие производители автомобилей, такие как Mercedes-Benz и Porsche, также вкладывают средства в технологию дополненной реальности, чтобы улучшить впечатления от вождения.
Внедрение ветрового стекла AR в автомобилях GM не только улучшит впечатления от вождения, но и повысит безопасность за счет уменьшения количества отвлекающих факторов для водителя. Эта технология может революционизировать то, как мы ездим, и мы можем ожидать, что в ближайшем будущем все больше и больше производителей автомобилей будут инвестировать в технологию AR.

Не так давно, наше издание писало о том, что автогигант FAW запатентовал в России новый премиальный лифтбек Hongqi H6. В самом Китае под брендом Hongqi довольно долгое время выпускались машины для госаппарата. Несколько лет назад марка решила сменить позиционирование и стала производить авто и для рядовых автолюбителей.