Инженеры Porsche придумали революционный 6-тактный мотор Автомобильный портал 5 Колесо

В «Порше» предложили оснащать автомобили новыми 6-тактными двигателями внутреннего сгорания, у которых рабочим является каждый третий (!), а не четвёртый ход поршня. И в масштабах всей индустрии эта разработка может означать, что Porsche всеми силами пытается сохранить в линейке силовых агрегатов для своих будущих моделей традиционный двигатель внутреннего сгорания…
Porsche представил очень странную, но, возможно, по-настоящему блестящую идею нового шеститактного двигателя внутреннего сгорания.
Начнём с того, что за очень редкими исключениями каждый автомобиль с ДВС использует именно четырёхтактный двигатель: та самая последовательность «впуск-сжатие-рабочий ход-выпуск». Однако немецкие инженеры считают, что можно добавить…ещё один такт сжатия и рабочего хода в этот процесс.
Документы, которые недавно появились в базе патентов, конкретно описывают эту разработку как «шесть отдельных тактов, которые можно разделить на две трёхтактные последовательности». Очень интересно, правда?

Как это работает. Попробуем попроще: дополнительные «шаги» в этой последовательности будут происходить между традиционным рабочим ходом и выпуском. Т. е., в 6-тактном двигателе Porsche, в котором рабочим является каждый третий, а не четвёртый ход поршня, первая последовательность — это «впуск-сжатие-рабочий ход», за которой следует «сжатие-рабочий ход-выпуск».
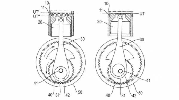
Для того чтобы это реализовать, как показывает патент Porsche, использовался коленвал, который, выражаясь простыми словами, не крутится на фиксированной оси, а сам ходит «вверх-вниз» на двух зубчатых колёсах. Может быть, более понятно станет из ,патентных изображений, прилагаемых ниже:
Хороший вопрос: для чего понадобились такие усложнения? В «Порше» говорят, что подобная конструкция имеет «потенциал для генерации большей мощности с лучшей эффективностью». По словам разработчиков, в «типичном» четырёхтактном двигателе внутреннего сгорания только один ход из четырёх фактически производит мощность (каждый четвёртый), а в новом 6-тактном двигателе — каждый третий!
Конечно, главный недостаток — это выросшая в разы сложность всей конструкции. Достаточно ли выигрыша в мощности и эффективности, чтобы оправдать такую конструкцию, — ещё только предстоит увидеть.

Вообще говоря, пока это только патент, так что мы даже не знаем, увидит ли он когда-нибудь свет в виде готового «продукта», — как это часто случается с патентами. Но согласитесь, это очень и очень интересная идея, а что, возможно, ещё важнее и принципиальнее, даже в масштабе всей индустрии, — то, что данная разработка Porsche свидетельствует, что известнейшая немецкая компания усердно работает над поиском способов сохранит жизнь классическим двигателям внутреннего сгорания в условиях перехода на электричество и, соответственно, — ужесточения обязательных экологических норм.
Ну что, «третьим» будет — и не лишним?
Источник: 5koleso.ru