Как изготовить стробоскоп для зажигания своими руками
Если вам нравится делать техобслуживание своего авто самому, то для уменьшения затрат на покупку инструмента вы можете сделать стробоскоп для зажигания своими руками.
Содержание статьи:
Что такое стробоскоп
Стробоскопом называют прибор для наблюдения объектов, совершающих быстрые периодически повторяющиеся движения. Для этого он освещает движущийся объект яркими вспышками света, повторяющимися с частотой равной частоте движения этого объекта. При таком освещении движущийся объект кажется неподвижным. В двигателе авто с помощью стробоскопа можно определить величину угла опережения зажигания. Для этого нужно синхронизировать вспышки импульсами зажигания в первом цилиндре, а свет направлять на метки ВМТ и установки момента опережения зажигания, освещая и шкив коленвала с риской.
Стробоскопы заводского изготовления в качестве излучателя световых вспышек обычно имеют безынерционную импульсную лампу, позволяющую сделать настройки угла опережения зажигания даже в условиях яркого солнечного освещения. Однако она имеет небольшой срок службы и не всегда бывает в продаже. Поэтому с появлением светодиодов силой света более 2000 мкд при изготовлении стробоскопа своими руками стало удобнее пользоваться ими. Чтобы убедить в значительности превосходства параметров светового потока новых светодиодов, напомним, что у АЛ307 при том же потребляемом токе сила света составляет всего 10–16 мкд.
(схема к видеоматерилам в описании под видео)
Материалы
Предлагаемая для изготовления своими руками схема стробоскопа проста и не требует сложной настройки. Чтобы сделать простой стробоскоп для корректировки момента опережения зажигания своими руками, понадобятся следующие инструменты, детали и материалы:
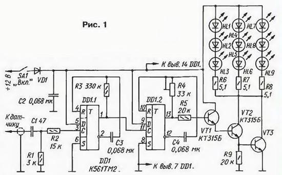
- Карманный фонарик с достаточно большим отсеком для батареек.Светодиоды КИПД21П-К – 9 шт.Микросхема К561ТМ2 (два двухступенчатых D-триггера). Российские аналоги: К176ТМ2, 564ТМ2; импортный аналог – CD4013/HEF4013.Транзистор КТ315Б – 2 шт. (VT1, VT2); КТ815А – 1шт. (VT3).Подстроечный резистор СПЗ-196 или СП5-1 сопротивлением 33 кОм.Постоянные резисторы 5,1 Ом – 3 шт., 3 кОм – 1 шт., 15 кОм – 1 шт., 20 кОм – 2 шт., 330 кОм – 1 шт., мощностью не менее 0,125 Вт.Диод КД213 или любой другой средней мощности с Uобр. макс не менее 16 В.Неполярные конденсаторы КМ-5, К73-9 или другие. С1 должен быть рабочим напряжением не менее 200 В остальные не меньше 16 В. 0,068 мкФ – 3 шт., 47 пФ – 1 шт.Любой тумблер для включения питания устройства.1 м экранированного провода (например, антенного).3 зажима «крокодил».Небольшой кусочек фольгированного текстолита толщиной 1 мм.Многожильный двойной изолированный медный провод – 1,5 м.Клеевой пистолет.Паяльник, припой, флюс.
Конструкция устройства
Корпусом стробоскопа будет фонарик. Схема собирается навесным монтажом. Готовая схема заливается горячим пластиком из клеевого пистолета, и после отвердения заливки помещается в отсек для батареек фонарика. Питающий и сигнальный кабели выводятся наружу через просверленные в корпусе отверстия. К концам проводов питания нужно припаять зажимы, обозначив полярность. На вход стробоскопа подключить антенный кабель. К центральной жиле входного кабеля припаять зажим «крокодил». После подключения стробоскопа к мотору авто с его помощью на вход будут подаваться импульсы синхронизации высоковольтного провода зажигания. Чтобы это стало возможным, достаточно надеть его на изоляцию высоковольтного провода зажигания первого цилиндра двигателя авто. Импульс синхронизации пойдет через емкость, образуемую центральной жилой провода зажигания и зажимом. То есть простой самодельный емкостной датчик будет состоять из зажима «крокодил», надетого на высоковольтный провод.
Сделать световой излучатель удобнее всего, смонтировав группу светодиодов, вплотную друг к другу в центре диска из фольгированного текстолита. Устанавливать его следует так, чтобы светодиоды, пройдя в отверстие для лампочки в отражателе, оказались как можно ближе к точке расположения нити накаливания. Прикрепить текстолит к рефлектору можно при помощи клеевого пистолета.

Питание
Питание прибора происходит от бортовой электрической сети авто. Диод VD1 предохраняет устройство от случайного подключения питания обратной полярности. Импульс синхронизации с емкостного датчика через цепь C1, R2 подается на вход триггера DD1.1, включенного как ждущий мультивибратор. Импульс высокого уровня запускает ждущий мультивибратор, триггер при этом переключается, а конденсатор С3, заряженный в исходном состоянии, начинает перезаряжаться через резистор R3. Приблизительно через 15 мс этот конденсатор перезарядится настолько, что напряжение на входе R вновь сбросит триггер в исходное состояние.

Так ждущий мультивибратор реагирует на каждый положительный импульс с емкостного датчика, вырабатывая синхронно входному прямоугольный выходной импульс высокого уровня постоянной длительности (15 мс), которая определяется номиналами резистора R3 и конденсатора C3. Последовательность этих импульсов с неинвертирующего выхода триггера DD1.1 поступает на вход второго ждущего мультивибратора, собранного по аналогичной схеме на триггере DD1.2. Длительность импульсов второго узла достигает 1,5 мс и определяется параметрами резистора R4 и конденсатора C4. Выходное напряжение второго триггера открывает триоды VT1 – VT3, и через светодиоды проходят импульсы тока величиной от 0,7 до 0,8 А.
Некоторые тонкости
Несмотря на то что величина тока значительно больше допустимой для этих светодиодов (максимально допустимый прямой импульсный ток всего 100 мА), не следует опасаться перегрева и выхода их из строя. Потому что длительность импульсов невелика, а их скважность в нормальном режиме не меньше 15. Яркость же вспышек девяти светодиодов позволяет пользоваться прибором даже днем.
Редакция журнала «Радио» сообщает о том, что для того чтобы убедится в работоспособности устройства, было проведено его испытание.
Светодиоды с успехом перенесли импульсный ток величиной 1 А в течение часа, при этом не было обнаружено даже небольшого их перегрева. Обычно же время работы с прибором не превышает 5 мин, да и ток, проходящий через них в этой конструкции, несколько меньше.
Назначение ждущего мультивибратора на триггере DD1.1 – защита светодиодов от выхода из строя при увеличении частоты вращения коленвала. Обычно прибором работают при частоте вращения коленвала близкой к холостому ходу (от 800 до 1200 об/мин). Так как длительность вспышек величина постоянная, при увеличении частоты вращения коленвала будет уменьшаться скважность импульсов тока через светодиоды, и, как следствие этого, увеличится нагревание последних. Поэтому длительность импульсов ждущего мультивибратора на триггере DD1.1 выбрана такой, что при достижении частоты вращения коленвала 2 тыс. об-1 скважность его выходной последовательности импульсов приближалась к 1. При дальнейшем же возрастании частоты вращения, а с ней и входных импульсов, происходит прекращение синхронизации ими выходных импульсов, а узел начинает вырабатывать последовательность импульсов усредненной частоты, что гораздо менее опасно для светодиодов.

Настройка устройства
Опытным путем установлено, что длительность вспышек должна быть от 0,5 до 0,8 мс. При меньшей длительности вспышек во время установки угла опережения с помощью стробоскопа велико ощущение недостатка света. Если же длительность больше, то движущаяся метка как бы размазывается. Необходимую длительность легко подобрать своими руками не измеряя, а руководствуясь только зрительными ощущениями. Регулируется она с помощью подстроечного резистора R4. Больше схема ни в каких настройках не нуждается.
Использование прибора
Для установки угла (момента) опережения своими руками устройством освещают установочные метки, работающего на холостых оборотах двигателя авто. Одна из них находится на вращающихся деталях мотора авто (на шкиве коленвала или на маховике). Вторая метка – неподвижна, она находится или на крышке передней части блока цилиндров авто, или на корпусе коробки передач. Если в свете прибора подвижная метка кажется стоящей напротив неподвижной, зажигание авто в норме и не требует регулировки момента (угла) опережения.
В случае несовпадения меток для регулировки момента опережения нужно соответственно изменить положение трамблера. Для задержки момента зажигания нужно повернуть трамблер по ходу вращения бегунка, а чтобы сделать его раньше – в обратную сторону. Если же искрообразованием в вашем авто управляет микропроцессор, ищите неисправный датчик или доверьте решение этой проблемы профессионалам.