Устройство водородного двигателя
После исчерпывания природных запасов нефти, людям придется полностью положиться на альтернативные виды получения энергии. Водородный двигатель, как замена ДВС, работающих на черном золоте, является одной из перспектив будущих десятилетий.
Силовые установки такого типа имеют больший КПД и меньшую степень токсичности выхлопных газов. Впрочем, главное преимущество моторов, работающих на водороде, – неограниченный запас сырья для производства топлива. Вода, именно она может стать основой топлива будущего.
Интерес к использованию водорода появился еще во время топливного кризиса 70-х годов, но первый водородный двигатель был изобретен только в начале XIX столетия.

Действительное применение технология получила во время блокады Ленинграда, когда водородом заправляли лебедки аэростатов, транспорт.
Несмотря на очевидные преимущества, знания способов получения водорода и его использования для работы двигателя внутреннего сгорания, существует несколько значительных «но», замедляющих внедрение этой прогрессивной технологии.
Содержание статьи:
Особенности водорода, как топлива для ДВС
- после сгорания остается только водяной пар;реакция происходит намного быстрей, чем в случаи с бензином либо дизелем;детонационная устойчивость позволяет повысить степень сжатия;благодаря своей летучести, водород способен проникать в самые малые полости, зазоры между деталями (лишь особые сплавы повышенной прочности способны переносить разрушительное воздействия водорода на структуру металла);теплоотдача сгорания водорода в 2,5 раза больше, чем у бензиновой смеси;широкий диапазон реакции. Минимальная пропорция водорода, достаточная для реакции с кислородом, составляет всего 4%. Такая особенность позволяет настраивать режимы работы двигателя, дозируя консистенцию смеси;хранение водорода осуществляется в сжатом или жидком агрегатном состоянии. При пробое бака, газ под давлением испаряется.
Ввиду перечисленных выше особенностей, использования водорода, как чистого топлива для ДВС, невозможно без внедрения изменений конструкции силового агрегата, а также навесного оборудования.
Устройство и принцип работы
Главное отличие двигателей на водороде от привычных нам сейчас бензиновых либо дизельных аналогов заключается в способе подачи и воспламенении рабочей смеси. Принцип преобразования возвратно-поступательных движений КШМ в полезную работу остается неизменным. Ввиду того что горение топлива на основе нефтепродуктов происходит медленно, камера сгорания наполняется топливно-воздушной смесью немного раньше момента поднятия поршня в свое крайнее верхнее положение (ВМТ). Молниеносная скорость реакции водорода позволяет сдвинуть время впрыска к моменту, когда поршень начинает свое возвратное движение к НМТ. При этом давление в топливной системе не обязано быть высоким (4 атм. достаточно).
В идеальных условиях водородный двигатель может иметь систему питания закрытого типа. Процесс смесеобразования происходит без участия атмосферного воздуха. После такта сжатия в камере сгорания остается вода в виде пара, который проходя через радиатор, конденсируется и превращается обратно в Н2О. Такой тип аппаратуры возможен в том случаи, если на автомобиле установлен электролизер, который отделит с полученной воды водород для повторной реакции с кислородом.
На практике такой тип системы осуществить пока что сложно. Для исправной работы и уменьшения силы трения в моторах используется масло, испарения которого являются частью отработанных газов. На современном этапе развития технологий устойчивая работа и беспроблемный запуск двигателя, работающего на гремучем газе, без использования атмосферного воздуха неосуществимы.
Гибридные модели и возможные модификации
Благодаря большому интересу к использованию водорода в качестве топлива для ДВС, гидродвигатели внутреннего сгорания имеют различные модификации и типы исполнения.

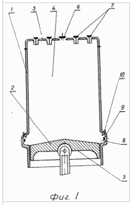
Схема устройства гибридного водородного двигателя
Мотор, разработанный В.С. Кащеевым, имеет иное устройство. Помимо впускного клапана (6) для подачи воздуха, выпускного для вывода выхлопных газов (7), ГБЦ имеет отдельный клапан для подачи водорода (9) и свечу зажигания (10), которые находятся в предкамере (8). Последняя расположена в ГБЦ выше уровня поршня в положении НМТ.
После преодоления поршнем НМТ в камеру сгорания подается и воспламеняется водород (предварительно поршень затягивает воздух через впускные клапаны). В это же самое время открываются выпускные клапаны. Из-за разницы атмосферного давления, отработанные газы устремляются в выпускной коллектор, создавая за собой вакуум, который перемещает поршень к ВМТ и за счет импульса обратно в крайнее нижнее положение. Как видим, принцип немного отличается, но суть остается неизменной.
Технология гибридных силовых установок – это промежуточная ступень между началом использования водорода в качестве топлива и полным отказом от использования нефтепродуктов. Автомобили с моторами такого типа могут передвигаться как на бензине, так и на водороде.

Еще более широкого распространения получило применение водорода в качестве компонента топливно-воздушной смеси. Для работы ДВС используется обычное топливо и небольшая часть гремучего газа. Это позволяет повысить степень сжатия, и уменьшить токсичность выхлопных газов.
Одним из возможных путей развития двигателей на водороде является применение силовых установок с топливными элементами. Во время химической реакции водорода и кислорода выделяется энергия, которая используется для питания электродвигателей автомобиля.
Трудности эксплуатации водородных ДВС
Главное препятствие на пути внедрения технологии – это стоимость получения водорода (Н2), а также комплектующих для его хранения и транспортировки. К примеру, для сохранения сжиженного состояния нужно поддерживать стабильную температуру -253º С. Наиболее доступный способ получения Н2 – это электролиз воды. Промышленное снабжение водородом требует больших энергетических затрат. Рентабельным этот процесс сможет сделать ядерная энергетика, которой также пытаются найти рациональную альтернативу. Транспортировка и хранение газа требуют использования дорогостоящих материалов и высококачественных механизмов.

К другим недостаткам водородного топлива можно отнести:
- взрывоопасность. В замкнутом пространстве достаточная для реакции концентрация гремучего газа может спровоцировать взрыв. Усугубить ситуацию способна высокая температура воздуха. Из-за высокой степени диффузности водорода существует риск попадания Н2 в выхлопной коллектор, где реакция с горячими выхлопными газами приведет к возгоранию смеси. Роторный двигатель, ввиду особенностей компоновки, является более предпочтительным для водородного автомобиля;для хранения водорода требуется емкость большого объема, а также специальные системы, препятствующие улетучиванию Н2 и обеспечивающие защиту от механических деформаций. Если для автобусов, грузовиков либо водного транспорта такая особенность не играет большой роли, то легковые автомобили теряют ценные кубометры багажного отделения;в режимах высокотемпературных нагрузок водород способен провоцировать разрушительное воздействие на детали цилиндропоршневой группы и моторное масло. Применение соответствующих сплавов и смазочных материалов ведет к удорожанию производства и эксплуатации двигателей, работающих на водороде.
Перспективы развития
Автомобилестроение – далеко не единственная область, где могут применяться водородные двигатели. Водный, железнодорожный транспорт, авиация, а также различная вспомогательная спецтехника могут использовать силовые установки подобного типа.

Интерес к внедрению технологии водородных двигателей проявляют как дочерние предприятия, так и крупные автоконцерны (BMW, Volskwagen, Toyota, GM, Daimler AG и прочие). Уже сейчас на дорогах можно встретить не только опытные образцы, но и полноценные представители модельного ряда, приводимые в движение с помощью водорода. BMW 750i Hydrogen, Honda FSX, Toyota Mirai и многие другие модели отлично зарекомендовали себя во время дорожных испытаний. К сожалению, высокая стоимость водорода, отсутствие инфраструктуры заправочных станций, а также достаточного количества квалифицированных сотрудников, оборудования для ремонта и обслуживания не позволяют запустить такие автомобили в массовое производство. Оптимизация всего цикла использования гремучего газа являются первоначальной задачей области развития водородной энергетики.